電動試壓泵的泵頭一般都是用臥式三柱塞的泵型,主要是由電機在經過皮帶的時候,然后減速,帶動曲軸連桿的機構,然后通過旋轉遠東,來往復的運動。最后在通過十字頭帶動柱塞在液缸里面工作。那么電動試壓泵的原理分解圖是什么樣的呢?

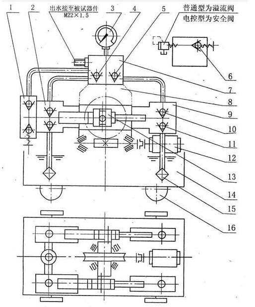
電動試壓泵原理分解圖:
1.o形圈13×1.9
2.2.插座連接器
3、3、保壓閥體
4.4.o形圈26×2.4
5.o形圈13×1.9
6,6,減震螺柱
7、7、壓力表
8、8、保壓閥
9.保壓閥座
10,10,o形圈22×2.4
11、11、泄壓塞針
12、12、減壓閥套筒
13.o形圈9×1.9
14、14、泄壓閥座
15,15,o形圈9×1.9。

電動試壓泵開始運行:
1.用高壓軟管將被測容器與泵的排出口相連。對于大型壓力容器,在試驗前,用試驗介質填充。對于小型壓力容器,在試驗回路中布置一個足夠容量(不小于20L)的儲能容器,如圖4所示。或者將測試的容器串聯起來。
2、啟動電機,然后可以選擇兩種方式操作:
①手動操作:在控制柜面板下排左側,向左轉動旋鈕,按下啟動按鈕,泵開始正常工作。待測容器注滿水,然后壓力緩慢上升。當壓力達到設定值時,即壓力表的黑針指向紅針時,會自動停止,并保持所需時間的壓力。
②自動操作:向左轉動控制柜面板,向右轉動旋鈕,按下遙控器“開”,試壓泵開始試壓,達到設定值。試壓泵將自動停止并進入保壓狀態。
㈢行動3期間的預防措施。根據被測試容器的測試要求進行驗收。測試后,打開泄壓閥釋放回路壓力。
以上就是關于電動試壓泵的原理分解圖內容,關于試壓泵的運轉方式,相信大家看完以后已經非常清楚了。一般新泵在出廠的時候,為了方便包裝都會將手推柄固定在泵頭上面,因此我們在剛使用的時候,一定要注意先安裝好手推柄。
